問題191
|
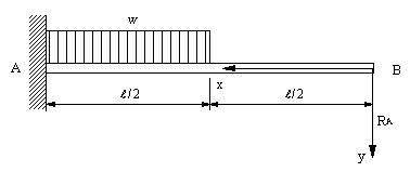
図の梁の場合に、自由端におけるたわみ角とたわみを求める。
|

|
| 【解】 |
| いろいろな材料力学の書籍を見ると、解答の方法、座標軸の取り方が様々である。ここでは3種類の座標の取り方で解答します。 |
| (1) 図を左右反対にして解く場合---小山・鈴木の「はじめての材料力学」で採用している。ヤングとティモシェンコの著書にに合わせている。 |

|

|
| (2) 固定端に座標の原点を取る場合 |

|

|
(3)図面は変えないで、自由端に座標の原点を取る場合
|

|

|
3つの場合を比較すると、(1),(3)の場合が計算的には、かなり簡単になる。(3)の場合は、いつも使用している向きと逆であるので、ミスしやすい。(2)のように解く書物が多いと思いますが、固定端でのモーメントと反力を求める必要がある。この問題では簡単に求めることができますが、複雑になる場合、不静定の場合など計算が複雑になります。
(1)の場合がお勧めですが、試験などでは、どのような教科書を使用しているか、先生がどのような方法を採っているかで事情が異なりますのでお気をつけ下さい。
|
|