材料の強度と破壊>腐食材の低サイクル疲労強度劣化

 
腐食材の低サイクル疲労強度劣化について
−−− 人工孔食の場合  −−−
 
小山 信次
1.緒言
 
 過去の石油タンクの破損事故調査結果は,多くの場合に腐食が関与していると報告している1)。前報2)では実際に石油タンクの底板として長期間使用され腐食を受けた材料の強度劣化について調べた。ここでは,SS-41材を用いて試験片上に電解法によって種々の大きさの孔食を作成し,低サイクル疲労特性におよぼす孔食の影響を調べた。
 
2.供試材及び実験方法
 
 本実験に用いた材料は,板厚6 mm の市販のSS-41(引張強さ420MPa,伸び 22 %)で,この供試材より,試験片の軸方向と圧延方向が一致するように試験片を採取した。試験片の形状,寸法を Fig.1に示した。その後,試験片平行部の領域の片面をエメリーぺーパーで酸化皮膜を除去した後,中心部を3%食塩水溶液中にて電解し,所定の一定電流のもとで電解時間を調節することによって寸法の異なる孔食を得た。なお,電極と試験片の間隔は常に5 mm になるようにした。また,発生するガスや酸化物の付着を防止するために,ポンプよりノズルを通して電解箇所に向けて水流を作った。なお,水溶液の容量は約5lで,酸素を飽和させるために常にバブリングをおこなった。
 低サイクル疲労試験は別報2)と同様に,チャック間の変位を完全両振になるように制御した。低サイクル疲労特性を求める試験の他に,き裂の発生と伝播の様相を観察するため,き裂発生の繰り返し数と予想される繰り返し数の前後で試験を中止し,液体窒素中に浸し冷却後,低温ぜい性破壊させた。
 

Fig.1 試験片の形状,寸法
3.実験結果および考察
 
3.1 腐食孔の形状および寸法
 3%食塩水中での電解によって得られる腐食孔の外観,形状および寸法は電解の電流I,電解時間T,試料と電極の間隔D,電解液の撹伴状態等によって変化する。そこで,実験目的に最適な腐食孔を得るめに,あらかじめ低サイクル疲労試験片のものと同じ材料を用いて,腐食孔の形状および寸法に及ぼす電流,時間などの影響を調べ,電解条件を決定した。低サイクル疲労試験ではパラメータを少なくするため,腐食孔の直径dの変化が比較的少なく深さtが変化するものが適しているが,しかし,いずれの電解条件においても直径と深さは時間と共に大きくなる。
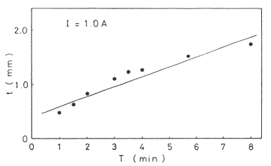
 A材については低サイクル疲労特性に及ぼす腐食孔の形状,寸法の影響を調べるために,腐食孔の直径の変化が比較的少なく,深さの変化する条件,I=1 A,T=60〜480 secを選んだ。A材の電解条件によって得られた腐食孔最大深さと電解時間の関係をFig.2に示した。電解時間が長くなると径も深さも大きくなり,径と最大深さとの関係は直線的に変化する。
 Fig.3は各電解時間での腐食孔の断面の写真で,初期段階では,深さ方向よりも径方向に腐食は進行するため腐食孔は皿型になり,時間が長くなるにつれて楕円型から半円型に近くなる。
 B材については,き裂の発生,伝播の様相を調べるために同一寸法の腐食孔を得るために電解条件はすべての試料について同じく,I=1 A,T= 120 secとした。直径d=3.26±0.05 mm,最大深さtmax=1.10±0.03 mmの腐食孔が得られた。

Fig.2 腐食孔最大深さと電解時間の関係
(a) t=0.49mm,T=1Min. (b) t=0.63mm, T=1.5Min. (c) t=0.83mm, T=2Min. (d) t=1.10mm, T=3Min.
(e) t=1.23mm, T=3.5Min. (f) t=1.27mm, T=4Min. (g) t=1.53mm, T=5.75Min.  (h) t=1.74mm, T=8Min.
 
Fig.3 腐食孔断面写真
 
3.2 低サイクル疲労特性について
 
 腐食孔が存在する場合の低サイクル疲労特性を調べるために,腐食孔の寸法,形状が一定のB材(直径d=3.26±0.05 mm,最大深さtmax=1.10±0.03 mm)にて,ひずみ制御の引張圧縮疲労試験を行った。繰り返しひずみ硬化軟化特性については,前報2)と同様,腐食孔を有しないものとほぼ同様の傾向を示し,腐食孔の影響は見られなかった。
 
3.2.1 繰り返し応力−ひずみの関係
 
 B材を用いて繰り返し応力−ひずみの関係を求めた結果がFig.4である。応力幅とひずみ幅の間には,従来のものと同様に,指数関係が成り立ち,繰り返しひずみ硬化指数β=0.212 ,定数σ=92.9 が得られた。

Fig.4 繰り返し応力−ひずみの関係
 
3.2.2 き裂発生までの繰り返し数N,寿命Nに及ぼす腐食孔の影響について
 
 き裂発生までの繰り返し数Nは,約63倍程度の実体顕微鏡で観察しうる大きさのき裂が発生した繰り返し数とした。Fig.5に結果を示した。いずれも最大深さtmax の影響を受け,N,Nはtmax が大きくなると極端に短くなっている。
Fig.5 き裂発生までの繰り返し数N, 
寿命Nに及ぼす腐食孔最大深さtmax
Fig.6 塑性ひずみ幅△εと寿命N,
き裂発生繰り返し数Nとの関係
 
 Fig.5は本実験で得られた結果と文献2)で得られた結果を比較したものである。文献においては,実際に石油タンクとして長期間使用され腐食を受けたタンク底板から試験片を採取し,試験片平行部領域に存在する腐食孔のうち最深孔食の深さをtmax とし,本実験と同様な低サイクル疲労試験を行いN,Nに及ぼす影響を調べたものである。なお,図中の▲印と△印は,tmax=0,すなわち,共にSS-41未使用材であるが材料は同一のものではない。両者とも同様の傾向である。
 Fig.6は,B材の塑性ひずみ幅△εと寿命N,き裂発生繰り返し数Nとの関係を求めたものである。Fig.6では,△ε−N,△ε−N のいずれもの関係も直線に乗り,指数関係,いわゆる,Manson-Coffin の式が成立することがわかる。
 
     △ε・Nα1= C ,       
     △ε・Nα2= C          
 
 本実験の場合,α = 0.506 ,C = 0.596 ,α =0.332 ,C = 0.082 の値が得られた。Fig.7は,腐食孔のない未使用材のものであるが,同様に,指数関係が成り立っている。き裂の発生に寿命のかなりの割合を占めているのに対して,腐食材は伝播期間が寿命の大部分を占めていることがわかる。Fig.8は未使用材と腐食材を比較したものであるが,大幅に強度劣化が生じていることがわかる。
 
Fig.7 未使用材のNc,Nf  Fig.8 未使用材と腐食材の比較
 
3.2.3 低サイクル疲労き裂発生の様相と破面観察
 
(1).巨視的様相
 実験で得られた巨視的な低サイクル疲労破面では、いずれも孔食底付近は階段状の破面を示しており、腐食孔から多数の微視的き裂が発生していたことを示している。
 前述のように,腐食孔が浅い場合は皿型をしており,底の中心近傍は平面に近い形状をしている。腐食孔縁近傍の底の曲率半径は一番小さいため,き裂の発生は,この付近に荷重の方向と垂直に生ずる。そして,試験片両側面に近い微視き裂がそれぞれ腐食孔縁近傍の底に発生した微視き裂と連結しながら腐食孔縁近傍の底に沿って成長し,1つのき裂となった後,腐食孔を中心として同心円上に広がってゆく。
 一方,腐食孔が深い場合にも,観察しうる程度の微視き裂は多いが,最深部に発生し,その一つが主き裂となって他のき裂と連結しながら荷重方向とほぼ垂直に成長する。いずれの破面にはかなりの微視き裂がラミネーション沿って生じている。Fig.9は、塑性ひずみ幅△εp=0.01368における疲労破面である。以上のことから、き裂の発生箇所は組織と腐食孔の局部的な曲率半径に大きく影響されると思われる。
Fig.9 疲労破面 △εp=0.01368,Nf =2143 Fig.10 腐食孔底に発生した微視き裂
 
(2).微視的様相
 
 Fig.10は,B材を用いてき裂が発生すると予想される繰り返し数(△ε=0.0216,t=0.71mm,N=61 cycle,Nは 600 cycle程度)における孔食底の写真である。腐食の様相は組織に対応したものになっているが,結晶境界に沿って,荷重の方向とほぼ垂直方向の微視き裂が多数発生している。Fig.11はFig.10と同じ条件で試験し,中断し,その後,液体窒素中で冷却しシャルピー衝撃試験機にてぜい性破壊させたもので,破面は大部分ぜい性破面であるが孔食底の一部に疲労破面と思われるものが観察された。この疲労き裂の大きさは長さ 131 μm,深さ 78 μm であった。
 Fig.12は,腐食孔近傍の疲労破面写真であるが,破面は引張圧縮両振りの低サイクル疲労特有の破面で,つぶれ面が多く見られる。腐食孔底の近傍の破面はかなり細かい段状になっており,多数の微視き裂が連結しながら成長したことを示している。つぶれ面とつぶれ面の間にはストライエーション(Fig.13)が観察された。
Fig.11 腐食孔底から疲労微視き裂発生 Fig.12 低サイクル疲労破面 Fig.13 低サイクル疲労破面におけるストライエーション
4.むすび
 
 3%食塩水中での電解によって,種々の寸法の腐食孔を得,低サイクル疲労特性に及ぼす腐食孔の大きさ影響を調べた結果,次のことがわかった。
電解によって得られる腐食孔の形状,寸法は,電解電流I,時間Tの値によって変化し,Iが一定の場合は,電解時間が短いときは,浅く皿型の形状で,電解時間の長いときは,深いく半円型になる。腐食孔底は,一般のエッチングと同様,フェライトとパーライトの組織に対応したものになっている。
 繰り返しひずみ硬化軟化特性,繰り返し応力−ひずみ関係は未使用材と同傾向にあり,繰り返しひずみ硬化指数β=0.212,定数σ=910MPaが得られ,腐食孔の影響はほとんどない。
き裂発生までの繰り返し数N,破断寿命Nは腐食孔の影響を受け,腐食孔の深さが深いほど,極端に短くなる。
 一定な大きさの腐食孔を有する場合に,塑性ひずみ幅△εと寿命N,き裂発生繰り返し数N との関係を調べた結果,両者ともに,Manson-Coffinの式が成り立ち,α = 0.506 ,C = 0.596 ,α =0.332,C = 0.082 が得られた。未使用材と比較すると腐食材は著しく強度劣化することがわかった。
 腐食孔底のパーライトとフェライトの境界にかなり早い時期に荷重方向と垂直に微視き裂は多数発生し,それらのあるものが連結,成長する。主き裂は、腐食孔縁に達した後,厚さ方向に同心円状に伝播する。
 
参考文献
 
  1) 亀井:消防報,No.31(1977),17.
  2) 小山,亀井:日本機械学会講演論文集,No.802-2(1980),146
 
*実際に腐食を受けた石油タンク底板の強度劣化についてはこちら
*この実験は、八戸工業大学機械工学科、安藤正和、土門隆、平山和昭君の昭和56年度、浅野宏、佐藤正義、沢田賢治君の昭和58年度、エネルギー工学科、浜部毅弘、宮本一知君の昭和60年度卒業論文の一部です。
    

材料の強度と破壊>腐食材の低サイクル疲労強度劣化